Katup Bypass Tekanan Diferensial 800X adalah katup yang digunakan untuk menyeimbangkan tekanan diferensial antara air suplai / air balik dari sistem AC. Katup dapat memenuhi tingkat pemanfaatan sistem, menjaga nilai konstan dari perbedaan tekanan, dan mengurangi kebisingan sistem, serta kerusakan peralatan yang disebabkan oleh perbedaan tekanan yang berlebihan. Katup pintas tekanan diferensial 800X dibandingkan dengan katup penyeimbang lainnya adalah bahwa ia tidak memiliki aktuator, mengandalkan perbedaan tekanan medium sendiri untuk menyeimbangkan fungsi sistem, menghemat energi dan ruang pemasangan, adalah sejenis katup cerdas.
Fitur dan penggunaan struktural
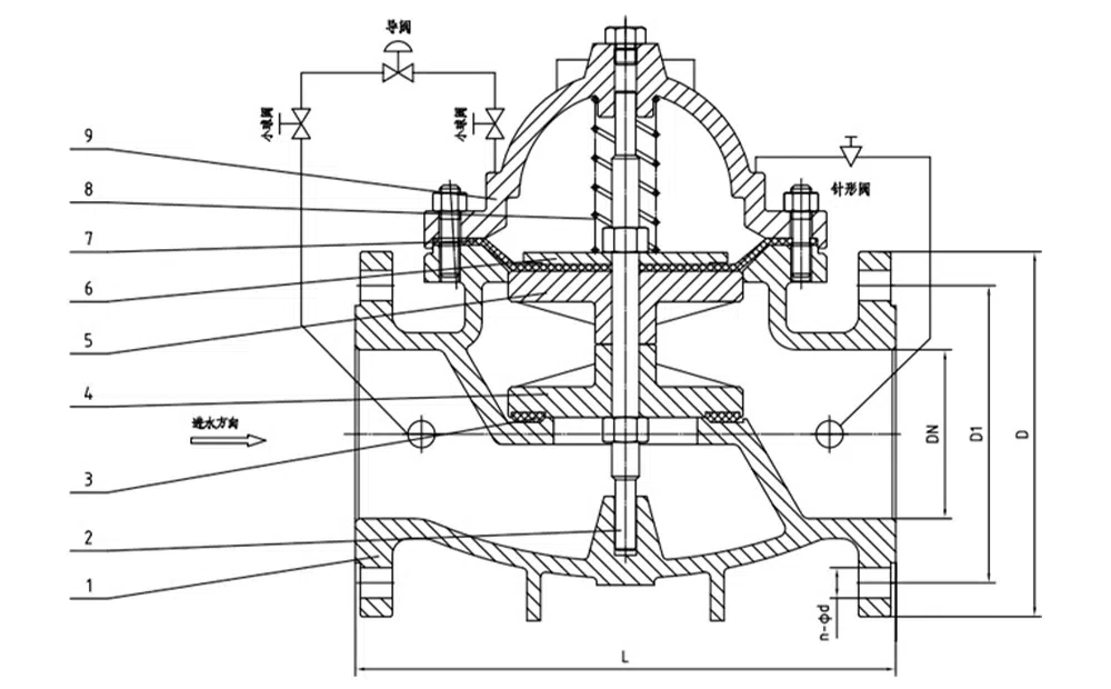
Katup pintas tekanan diferensial 800X terdiri dari katup utama, katup pilot kontrol tekanan diferensial, katup jarum, katup bola, filter mikro, dan pengukur tekanan untuk membentuk sistem penerima kontrol hidrolik. Melalui ruang kontrol katup pilot yang dirancang, ia membandingkan sinyal perubahan tekanan dan mengeluarkan sinyal bukaan katup utama untuk mengontrol bukaan katup utama, sehingga mengontrol tekanan diferensial saluran masuk dan keluar katup utama pada nilai yang ditetapkan. Produk ini menggunakan kontrol mandiri hidraulik, tidak memerlukan perangkat dan energi lain, perawatan mudah. Rangkaian produk katup ini untuk bangunan bertingkat tinggi, tempat tinggal dan sistem jaringan pasokan air lainnya dan proyek pasokan air perkotaan.
Parameter Produk
Model Produk | 800X-16Q |
Bahan badan katup | besi ulet |
Tekanan nominal | ≤1.6Mpa |
Media yang berlaku | air dan sebagainya |
Suhu yang berlaku | ≤80°C |
Referensi Ukuran Produk

jalan raya | L | D | D1 | D2 | b | f | n-d |
DN40 | 215 | 150 | 110 | 88 | 18 | 3 | 4-18 |
DN50 | 215 | 165 | 125 | 102 | 18 | 3 | 4-18 |
DN65 | 230 | 185 | 145 | 122 | 18 | 3 | 4-18 |
DN80 | 255 | 200 | 160 | 138 | 20 | 3 | 8-18 |
DN100 | 290 | 220 | 180 | 158 | 20 | 3 | 8-18 |
DN125 | 285 | 250 | 210 | 188 | 22 | 3 | 8-18 |
DN150 | 365 | 285 | 240 | 212 | 22 | 3 | 8-22 |
DN200 | 430 | 340 | 295 | 268 | 24 | 3 | 12-22 |













闽公网安备35058302350968号















