H12W-64P内螺纹直通单向阀的功能是用来防止管路中的介质倒流。单向阀属于自动阀类,启闭件靠流动介质的力量自行开启或关闭。单向阀只用于介质单向流动的管路上,阻止介质回流。
ข้อมูลจำเพาะของสินค้า
รุ่นสินค้า | H12W-64P |
วัสดุของตัววาล์ว | เหล็กinox 304 |
ความดันตามชื่อ | ≤6.4Mpa |
สื่อที่ใช้ได้ | น้ำ, แก๊ส, น้ำมัน, และผลิตภัณฑ์น้ำมัน, เป็นต้น |
อุณหภูมิในการทำงาน | ≤150°C |
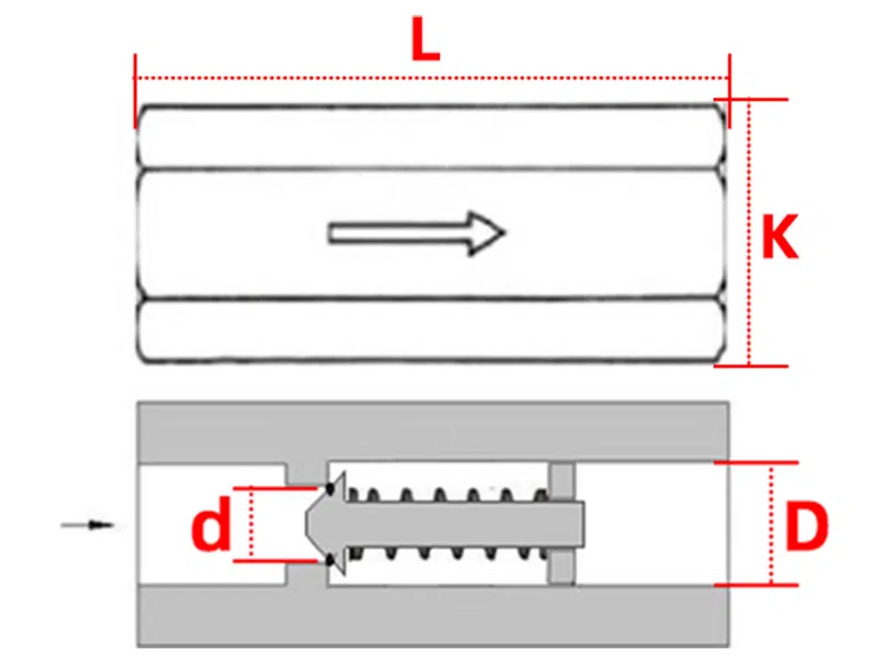
ขนาดอ้างอิงของผลิตภัณฑ์

บอร์ | Inch | D | L | d | K |
DN6 | 1/8 | 8.8 | 49 | 6 | 17 |
DN8 | 1/4 | 11.5 | 49 | 6 | 17 |
DN10 | 3/8 | 15.2 | 54 | 6 | 22 |
DN15 | 1/2 | 19.1 | 59 | 10 | 27 |
DN20 | 3/4 | 24.1 | 64 | 14 | 30 |
DN25 | 1 | 30.7 | 76 | 19 | 38 |















