U41S-16C铸钢柱塞阀的柱塞表面经过高精度外圆磨床加工而成,密封环采用弹性强、耐磨性高的无毒新型密封材料,所以密封可靠,经久耐用,从而提高了柱塞阀的使用寿命。法兰柱塞阀标准可按美标、日标、国标等进行加工。安装在蒸汽管道上,阀杆部位无泄漏,是锅炉蒸汽管路上常用的阀门之一。没有流体流失提高了使用能源效率,增加生产设备安全性,减少了维护费用及频繁的维护保养,降低经营成本,还提供了清洁安全的工作环境。
工作原理
铸钢柱塞阀当手轮旋转时,通过阀杆带动柱塞在孔架中间上下往复运动来完成阀门的开启与关闭功能。在阀门中柱塞与密封环间采用过盈配合,通过调节压盖中法兰螺栓,使密封环压缩所产生的侧向力与阀体中孔面及柱塞外圆密封,从而保证了阀门的密封性。
产品特点
- 开关柱塞阀时,柱塞在密封圈中缓慢移动,接触面几乎不磨损。
- 密封环采用弹性强、耐磨性高的无毒新型密封材料,所以密封可靠,经久耐用。
- 在阀门中柱塞与密封环间采用过盈配合,从而保证了阀门的密封性,杜绝了内外泄漏。
- 关闭时,柱塞插入下密封圈,截断流道;开启时,柱塞虽然脱离下密封圈,但仍藏在上密封圈内,保持与外界隔离,不致发生泄漏。
产品参数
产品型号 | U41S-16C |
阀体材质 | 铸钢 |
公称压力 | ≤1.6Mpa |
适用介质 | 水、蒸汽、油品等 |
适用温度 | ≤250℃ |
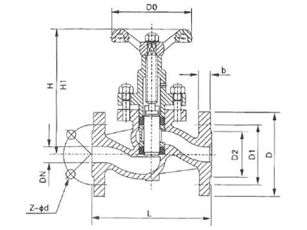
产品尺寸参考

DN | L | D | D1 | D2 | b | z-Φd | H | H1 | D0 |
15 | 130 | 95 | 65 | 45 | 14 | 4-14 | 116 | 144 | 85 |
20 | 150 | 105 | 75 | 55 | 16 | 4-14 | 142 | 176 | 85 |
25 | 160 | 115 | 85 | 65 | 16 | 4-14 | 163 | 205 | 100 |
32 | 180 | 135 | 100 | 78 | 18 | 4-18 | 182 | 227 | 120 |
40 | 200 | 145 | 110 | 85 | 18 | 4-18 | 210 | 260 | 140 |
50 | 230 | 160 | 125 | 100 | 20 | 4-18 | 230 | 286 | 160 |
65 | 290 | 180 | 145 | 120 | 20 | 4-18 | 250 | 310 | 180 |
80 | 310 | 195 | 160 | 135 | 22 | 8-18 | 269 | 340 | 200 |
100 | 350 | 215 | 180 | 155 | 24 | 8-18 | 278 | 356 | 240 |
125 | 400 | 245 | 210 | 185 | 26 | 8-18 | 332 | 440 | 375 |
150 | 480 | 280 | 240 | 210 | 28 | 8-23 | 434 | 562 | 375 |
200 | 600 | 335 | 295 | 265 | 30 | 12-23 | 498 | 660 | 460 |
250 | 700 | 405 | 355 | 320 | 38 | 12-23 | 540 | 660 | 460 |
300 | 750 | 460 | 410 | 360 | 38 | 12-23 | 650 | 680 | 460 |















