ADP系列可视调节压差旁通阀是自力式流量控制阀,用于控制经过某一设备的最小流量,如小型燃气锅炉,或控制一中央供热系统的压差。
产品特点
ADP系列可视调节压差旁通阀为电动压差控制阀替代产品。其优点是无需外动力,靠系统本身压力工作,有效的提高了运动安全系数,比传统电动压差控制阀更为安全可靠,解决了电动压差控制阀对电的信赖和电路出现问题造成机组损伤的几率,并且自力式自身压差控制阀便于安装,节省费用。
产品参数
产品型号 | ADP |
阀体材质 | 黄铜 |
公称压力 | ≤1.0Mpa |
适用介质 | 水、防冻液、导热液等 |
适用温度 | ≤120℃ |
可选调节压力 | 0.2-1bar/0.5-3bar |
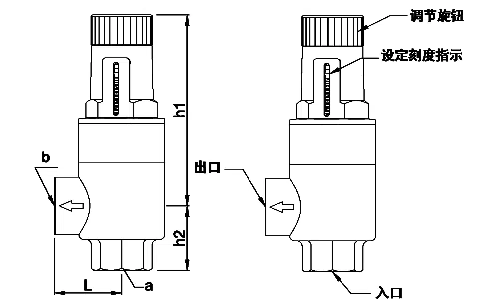
产品尺寸参考

通径 | a | b | h1 | h2 | L |
DN15 | 1/2 | 1/2 | 109 | 36 | 38 |
DN20 | 3/4 | 3/4 | 109 | 36 | 38 |
DN25 | 1 | 1 | 109 | 36 | 38 |
DN32 | 1-1/4 | 1-1/4 | 113 | 42 | 52 |
DN40 | 1-1/2 | 1-1/2 | 113 | 45 | 56 |
DN50 | 2 | 2 | 119 | 51 | 56 |













闽公网安备35058302350968号















