您好,欢迎访问 耐斯富阀门制造(泉州)有限公司 官网!

铸钢硬密封法兰球阀 Q41H-16C

  • 产品型号:Q41H-16C
  • 阀体材质:铸钢
  • 公称压力:≤1.6Mpa
  • 适用介质:水、蒸汽、油品等
  • 适用温度:≤325℃
质量保障
性能可靠
技术支持
在线留言添加微信
电话/微信 +86 13382208259
  • 产品详情
  • 品牌优势
  • 采购流程

Q41H-16C金属硬密封法兰球阀是一种做切断、分配和改变介质的流动方向的阀门。该阀门阀座采用板簧加载的金属密封结构,在高温下启闭轻松。球体及阀座采用特殊硬化处理,密封面不擦伤。广泛适用于城建、化工、冶金、石油、制药、食品、饮料、环保等领域。

产品特点

Q41H-16C金属硬密封法兰球阀具有密封性能好,耐高温,耐磨擦,抗冲击,开关轻,使用寿命长等特点。

产品参数

产品型号

Q41H-16C

阀体材质

铸钢

公称压力

≤1.6Mpa

适用介质

水、蒸汽、油品等

适用温度

≤325℃

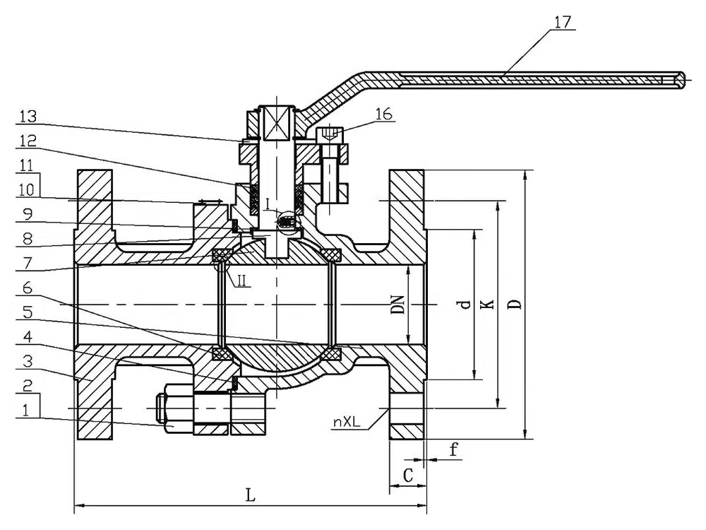
产品尺寸参考

1761180805 结构图

通径

L

D

K

d

C

f

nXL

DN15

130

95

65

45

14

2

4-14

DN20

140

105

75

55

14

2

4-14

DN25

150

115

85

65

14

2

4-14

DN32

165

135

100

78

16

2

4-18

DN40

180

145

110

85

16

3

4-18

DN50

200

160

125

100

16

3

4-18

DN65

220

180

145

120

18

3

4-18

DN80

250

195

160

135

20

3

8-18

DN100

280

215

180

155

20

3

8-18

DN125

320

245

210

185

22

3

8-18

DN150

360

285

240

210

24

3

8-23

DN200

400

335

295

265

26

3

12-23

DN250

450

405

355

320

30

3

12-23

微信微博在 Facebook 上XReddit品趣网LinkedInStumbleUponWhatsAppvKontakte复制链接

质量稳定

实行全过程质量监控,细致入微,全方位检测!

价格合理

高效内部成本控制,减少了开支,让利于客户!

交货快捷

先进生产流水线,充足的备货,缩短了交货期!

第一步:发送采购清单

请将采购清单发邮件到 [email protected],电话/微信:+86-13382208259,WhatsApp:+852-90445535。

第二步:提供报价和选型

收到客户采购清单后,我公司将为客户提供阀门报价「价格清单」和选型「阀门型号」服务。

第三步:商定具体事宜

具体事宜商定:交货期、特殊要求等细节确认。

微信
微信
微信
WhatsApp
在线留言

联系我们,为您提供专属服务!