800X Diferansiyel Basınç Bypass Vanası, bir klima sisteminin besleme / dönüş suyu arasındaki fark basıncını dengelemek için kullanılan bir vanadır. Vana, sistemin kullanım oranını karşılayabilir, basınç farkının sabit değerini koruyabilir ve sistemin gürültüsünü ve aşırı basınç farkının neden olduğu ekipmanın hasarını azaltabilir. 800X diferansiyel basınç baypas vanası, diğer dengeleme vanaları ile karşılaştırıldığında, bir aktüatöre sahip olmaması, sistemin işlevini dengelemek için ortamın kendi basınç farkına güvenmesi, enerji ve kurulum alanından tasarruf etmesi, bir tür akıllı vanadır.
Yapısal özellikler ve kullanımlar
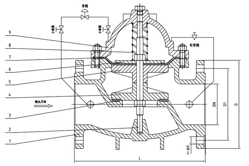
800X diferansiyel basınç baypas valfi, hidrolik kontrol alıcı sistemi oluşturmak için ana valf, diferansiyel basınç kontrol pilot valfi, iğne valf, küresel valf, mikro filtre ve basınç göstergesinden oluşur. Tasarlanan pilot valf kontrol odası aracılığıyla, basınç değişim sinyalini karşılaştırır ve ana valf açıklığını kontrol etmek için ana valf açma sinyalini verir, böylece ana valfin giriş ve çıkış diferansiyel basıncını ayarlanan değerde kontrol eder. Bu ürün hidrolik otokontrol kullanır, başka cihaz ve enerji gerektirmez, bakımı kolaydır. Yüksek binalar, yaşam alanları ve diğer su şebekesi sistemleri ve kentsel su temini projeleri için bu vana ürünleri serisi.
Ürün Parametresi
Ürün Modeli | 800X-16P |
Valf gövde malzemesi | 304 paslanmaz çelik |
Nominal basınç | ≤1,6Mpa |
Uygulanabilir ortam | su ve benzeri |
Uygulanabilir sıcaklık | ≤80°C |
Ürün Boyut Referansı

bir cadde | L | D | D1 | D2 | b | f | n-Φd |
DN40 | 210 | 150 | 110 | 88 | 18 | 3 | 4-18 |
DN50 | 210 | 165 | 125 | 102 | 18 | 3 | 4-18 |
DN65 | 231 | 185 | 145 | 122 | 18 | 3 | 4-18 |
DN80 | 253 | 200 | 160 | 138 | 20 | 3 | 8-18 |
DN100 | 256 | 220 | 180 | 158 | 20 | 3 | 8-18 |
DN125 | 312 | 250 | 210 | 188 | 22 | 3 | 8-18 |
DN150 | 364 | 285 | 240 | 212 | 22 | 3 | 8-22 |
DN200 | 398 | 340 | 295 | 268 | 24 | 3 | 12-22 |















