Klipsli çek valfın dört tarafı olan H71X-25P, orta geri akışı önlemek için kullanılan valf gövdesi, valf kanadı, yay vb. içerir, boru hattı sistemine yatay veya dikey olarak monte edilebilir. Vana, kısa yapı, küçük hacim, hızlı kapak kapanması, düşük su darbesi basıncı, düşük sıvı direnci, hassas hareket, iyi sızdırmazlık performansı özelliklerine sahiptir. Bu ürün, özellikle montaj alanının kısıtlı olduğu durumlar için uygun olan alın-kelepçe bağlantısını benimser. Petrol, kimya, kauçuk, kağıt ve diğer endüstrilerde yaygın olarak kullanılır, özellikle buhar kazanı ve termal yağ sistemi için uygundur.
Ürün Özellikleri
- Yapının uzunluğu kısa, boyutu küçük ve ağırlığı hafiftir.
- Vana klapesi hızla kapanır ve su akış basıncı düşüktür.
- Yatay veya dikey boru hatları kullanılabilir, kurulumu kolaydır.
- Pürüzsüz akış kanalları ve akan suya karşı düşük direnç.
- Hassas hareket ve iyi sızdırmazlık performansı.
- Kısa valf stroku ve düşük kapatma kuvveti.
- Genel yapısı basit ve kompakt olup güzel bir modellemeye sahiptir.
Ürün Parametresi
Ürün Modeli | H71X-25P |
Valf gövde malzemesi | 304 paslanmaz çelik |
Nominal basınç | ≤2,5Mpa |
Uygulanabilir ortam | Su, buhar, yağ vb. |
Uygulanabilir sıcaklık | ≤250°C |
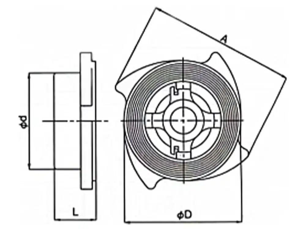
Ürün Boyut Referansı

bir cadde | L | ФD | Фd | A |
DN15 | 16 | 43 | 35 | 63 |
DN20 | 19.5 | 53 | 45 | 69.5 |
DN25 | 22 | 63 | 51 | 80.5 |
DN32 | 28 | 72.5 | 60.5 | 90.5 |
DN40 | 31.5 | 82 | 70 | 101 |
DN50 | 40 | 95.5 | 90 | 115 |
DN65 | 45 | 116 | 102 | 142 |
DN80 | 50 | 129.5 | 121 | 153.5 |
DN100 | 60 | 154.5 | 145 | 180 |
Kurulum Şeması
















