您好,欢迎访问 耐斯富阀门制造(泉州)有限公司 官网!

WCB钢制消声止回阀 HC41X-16C

  • 产品型号:HC41X-16C
  • 阀体材质:WCB钢制
  • 公称压力:≤1.6Mpa
  • 适用介质:水等
  • 适用温度:≤80℃
质量保障
性能可靠
技术支持
在线留言添加微信
电话/微信 +86 13382208259
  • 产品详情
  • 品牌优势
  • 采购流程

HC41X消声止回阀适用于给水系统中需防止介质倒流的管路上,系实现介质单向流动时,有压力推向阀芯,使弹簧压缩,阀门迅速开启,当介质逆向流动时,弹簧推动阀芯压向阀座,阀门即关闭。HC41X消声止回阀的特殊设计,确保阀门工作平稳,关闭时无振动和噪声,消除了其他形式止回阀关闭时所产生的水锤击声。

产品用途

用于一切防止管路系统介质倒流的阀门。

工作原理

本阀以中心导轴压差梭动原理及弹簧辅助快速(提前)关闭,水泵启动时,全水流通道,减小流阻,使系统进行有效工作。

产品参数

产品型号

HC41X-16C

阀体材质

WCB钢制

公称压力

≤1.6Mpa

适用介质

水等

适用温度

≤80℃

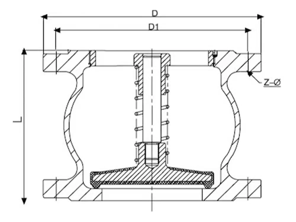
产品尺寸参考

通径

L

D

D1

Z-Ф

DN40

122

140

110

4-18

DN50

122

150

125

4-18

DN65

135

168

145

4-18

DN80

150

185

160

8-18

DN100

165

205

180

8-18

DN125

185

235

210

8-18

DN150

215

275

240

8-22

DN200

255

324

295

12-22

DN250

270

405

355

12-26

DN300

290

460

410

12-26

DN350

310

520

470

16-26

微信微博在 Facebook 上XReddit品趣网LinkedInStumbleUponWhatsAppvKontakte复制链接

质量稳定

实行全过程质量监控,细致入微,全方位检测!

价格合理

高效内部成本控制,减少了开支,让利于客户!

交货快捷

先进生产流水线,充足的备货,缩短了交货期!

第一步:发送采购清单

请将采购清单发邮件到 [email protected],电话/微信:+86-13382208259,WhatsApp:+852-90445535。

第二步:提供报价和选型

收到客户采购清单后,我公司将为客户提供阀门报价「价格清单」和选型「阀门型号」服务。

第三步:商定具体事宜

具体事宜商定:交货期、特殊要求等细节确认。

微信
微信
微信
WhatsApp
在线留言

联系我们,为您提供专属服务!