Z15H-16C çelik döküm tel sürgülü vananın açma ve kapama parçaları, küçük açma ve kapama torku, küçük akışkan direnci, sınırsız montaj yönü vb. özelliklere sahip sürgülü plakadır. Hareket yönü akışkan yönüne diktir, bu nedenle düzenleme ve kısma için değil, yalnızca tam açma ve kapama için kullanılabilir. Kapının hareket yönü akışkanın yönüne diktir, bu nedenle sürgülü vana düzenleme ve kısma için değil, yalnızca tam açık ve tam kapalı olarak kullanılabilir. Kimya endüstrisi, petrol, doğal gaz, inşaat, demir ve çelik, çevre koruma, su arıtma, kağıt yapımı, ilaç, madencilik, çözücüler ve belirli alanlarda yaygın olarak kullanılmaktadır.
Ürün Özellikleri
- Düşük sıvı direnci.
- Açma ve kapama için daha küçük tork gerekir.
- Ortamın her iki yönde de aktığı, yani ortamın akış yönünün kısıtlanmadığı halka ağ boru hatlarında kullanılabilir.
- Vana tamamen açık olduğunda, sızdırmazlık yüzeyi glob vanadan daha küçük olan çalışma ortamı tarafından erozyona maruz kalır.
- Şekil ve yapı nispeten basittir ve üretim süreci daha iyidir.
- Yapının uzunluğu nispeten kısadır.
Ürün Parametresi
Ürün Modeli | Z15H-16C |
Valf gövde malzemesi | dökme çelik |
Nominal basınç | ≤1,6Mpa |
Uygulanabilir ortam | Su, gaz, petrol, vb. |
Uygulanabilir sıcaklık | ≤120°C |
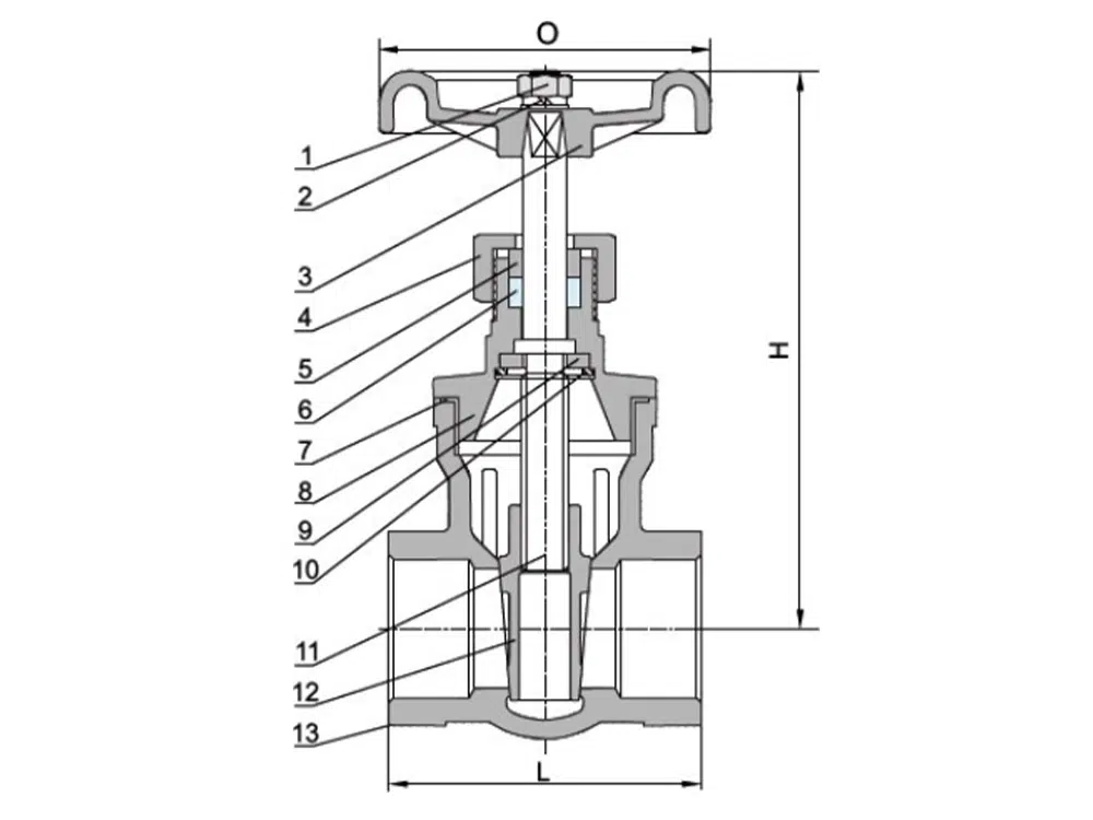
Ürün Boyut Referansı

bir cadde | BOYUT | L | O | H |
DN15 | 1/2 | 61.5 | 70 | 96 |
DN20 | 3/4 | 66 | 70 | 102 |
DN25 | 1 | 70 | 70 | 114 |
DN32 | 1-1/4 | 83 | 70 | 132 |
DN40 | 1-1/2 | 95 | 97 | 145 |
DN50 | 2 | 107 | 97 | 170 |
DN65 | 2-1/2 | 123 | 126 | 210 |
DN80 | 3 | 138 | 126 | 237 |
DN100 | 4 | 148 | 126 | / |



















